Lo sucedido en los últimos años nos ha llevado a vislumbrar el futuro en clave eléctrica. Hablamos del fin de los diésel, de híbridos, incluso del fin de los motores de combustión, de eléctricos, de hidrógeno, y de un sinfín de tecnologías. Pero por suerte no todo está perdido. El motor de combustión interna se resiste a morir y ahora es Toyota la marca que, en tanto adalid de la hibridación, parece estar avanzando en una línea tan interesante, como inexplorada, la del motor de compresión variable. Toyota habría diseñado un nuevo sistema que permitiría variar la compresión de un motor, con todas las ventajas que ello conllevaría. Desconociendo, de momento, si esta tecnología aterrizará en uno de sus motores, sí sabemos que Infiniti ya está a punto de comercializar una tecnología similar, aunque basada en un dispositivo diferente. ¿Cómo funcionaría este motor de compresión variable de Toyota?
¿Por qué un motor de compresión variable?
La obsesión por lanzar un motor de compresión variable viene de lejos. El gran problema de estos motores, que bien podríamos considerar como uno de los Santos Griales de la ingeniería mecánica, viene de la complejidad de conseguir un dispositivo fiable, y viable, que permita variar la relación de compresión. Antaño, ya hubo marcas que lo intentaron, como Saab (ver motor de compresión variable de Saab). Pero hasta ahora no habíamos visto ningún plan realista para llevar a cabo su producción en serie, más allá del recientemente presentado por Infiniti (ver motor de compresión variable de Infiniti).
La razón por la cual es tan interesante la compresión variable no es otra que conseguir un motor que pueda alcanzar una relación de compresión alta para maximizar su eficiencia, sin que se produzca el fenómeno de detonación, y a la vez, pueda reducir su relación de compresión para ofrecer una potencia específica mayor, o incluso aprovechar al máximo el rendimiento de un turbo, como es el caso del motor de Infiniti.
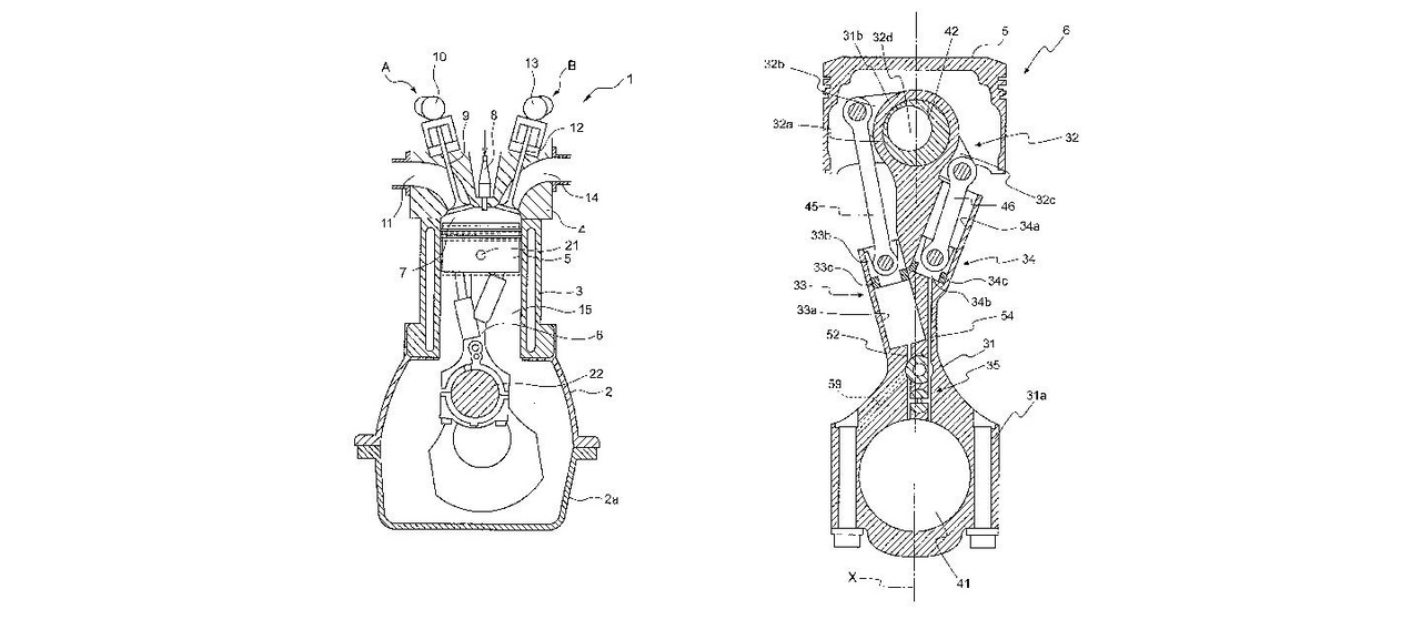
Según esta tecnología, enviada por Toyota al registro de patentes de los Estados Unidos, Toyota habría diseñado un sistema que mediante un sistema hidráulico variaría la posición de las bielas, y en la práctica su longitud, lo que permitiría modificar la compresión en función de la situación, y con la única acción de un sistema hidráulico. Infiniti, por ejemplo, había recurrido a un brazo actuador – denominado Harmonic Drive – que determina la posición del pistón Multi-Link y por ende el recorrido del cilindro.
Recordemos que Toyota ya ha empleado tecnologías tan interesantes en sus motores de combustión interna como la sincronización variable de válvulas, mediante accionamiento hidráulico, y electrónico, o la transición entre ciclos de tipo Otto, y su derivado el ciclo Atkinson.
Esta patente no quiere decir, ni mucho menos, que la tecnología esté lista para aplicarse en un motor de producción, y ni tan siquiera que vaya a aplicarse algún día. Pero lo cierto es que siempre resulta gratificante ver cómo los fabricantes no se resignan, y siguen avanzando en desarrollos realmente prometedores, enfocados a mejorar el rendimiento y la eficiencia de los motores de combustión interna.





