Puede sonar descabellado, pero el avance de la tecnología parece permitir que actualmente, algunas tecnologías del pasado que quedaron desterradas, puedan tener una segunda vida gracias a haber encontrado la respuesta técnica a sus principales talones de Aquiles. En el caso de los motores de dos tiempos, presentaban una problemática en forma de los hidrocarburos no quemados que se liberen a la atmósfera a través del escape por la propia configuración mecánica, algo que los hizo poco a poco quedarse en desuso.
Ahora, a punto de completar el primer cuarto de este Siglo XXI, todo parece apuntar a que General Motors está trabajando en el concepto de un motor de dos tiempos modernos tal y como se ha podido ver en algunos registros de la oficina de patentes. Aunque no hay confirmación del recorrido que puede tener el proyecto, suena cuanto menos peculiar la posible solución por la que habría optado el fabricante para dar respuesta al problema de las emisiones y mejorar a su vez la eficiencia.
La solicitud, con número US 2025/0354528 A1, se presentó ante la Oficina de Patentes y Marcas de los Estados Unidos (USPTO) el 20 de mayo de 2024 y ahora, el pasado 20 de noviembre de 2025 se dio a conocer su existencia de forma pública, en un documento que incluye a Alan G. Holmes, de Clarkston, Michigan, como inventor.
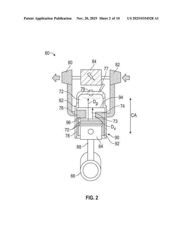
Si bien esto son datos que no nos aclara ninguna duda, los planos, publicados recientemente por Autoblog, revelan que General Motors podría estar afrontando la problemática de los motores de dos tiempos a través de la utilización de lo que se describe como válvulas deslizantes controladas electrónicamente. Dicho sistema se emplazaría entre el pistón y la pared del cilindro con el objetivo de evitar ese pequeño periodo de solapamiento en el que tanto la lumbrera de admisión como la de escape permanecen abiertas, momento en el que precisamente se produce esa liberación de hidrocarburos no quemados a la atmósfera.
De esta forma, la válvula podría controlarse a través de un actuador electromecánico para que se deslice a lo largo del eje del cilindro y se encargue de sellar las lumbreras de forma coordinada con el pistón y que así se reduzcan los gases e hidrocarburos no quemados que en un esquema convencional de motor dos tiempos serían expulsados por el escape.
¿Por qué incidir de nuevo en los motores de dos tiempos? Habitualmente, este tipo de configuración mecánica suele tener una potencia especifica mayor que la de los cuatro tiempos, así como ser mucho más sencillos en cuanto a su mantenimiento y construcción, a la vez que más ligeros y compactos. Estas características técnicas los podrían hacer un aliado perfecto para la creación vehículos híbridos más ligeros, e incluso, no se podría descartar que, dependiendo de la energía generada y su eficiencia, pudieran también encajar como generadores en vehículos eléctricos de “autonomía extendida”.
En un motor tradicional de dos tiempos, la compresión y la potencia se producen cada vez que el pistón gira dentro de la cámara y la admisión y el escape suelen realizarse a través de puertos fijos en la pared del cilindro a medida que el pistón pasa por ellos. Es por ello que no emplean ni válvulas ni tampoco árboles de levas.






