Que los coches modernos son mas complejos que los coches de antaño es una obviedad. Que cada vez es mas complicado para un usuario medio reparar o mantener su coche por sí mismo, también. Tenemos tapas de plástico por todas partes, electrónica que se rebela contra nosotros si metemos mano al coche y una complejidad mecánica in crescendo. Por si esto fuera poco, BMW acaba de patentar un nuevo sistema de tornillería que hará todavía más difícil trabajar en tu propio coche.
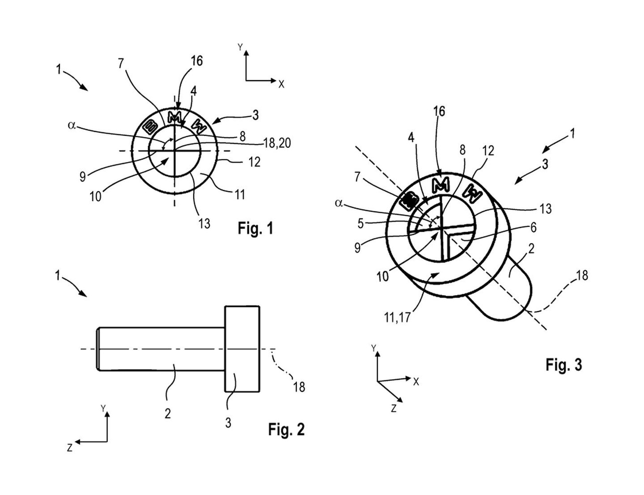
La patente fue publicada por la WIPO, la oficina europea de patentes, el pasado 11 de noviembre. Puedes consultarla al completo en este enlace público. Se trata de un sistema de tornillería en con una cabeza del tornillo específica. La cabeza del tornillo es el logotipo de BMW, con sus letras en relieve y dos cuartas partes de su «hélice», hundidas, o mejor dicho, rebajadas, en la propia pieza. No es una cabeza allen, torx o un Phillips, si no un sistema único para el que necesitaríamos herramientas específicas.
En el propio texto de la patente se especifica que este tipo de tornillería haría mas difícil la manipulación por parte de «personas no autorizadas». No solo complicaría las labores a los amigos de lo ajeno, si no que además, puede ser una herramienta de branding en zonas medianamente visibles. El ejemplo que la patente cita son los anclajes de los asientos al chasis del vehículo. El uso de este tipo de tornillo requeriría de un útil específico, menos común que los estándares actuales de la industria.
En vehículos de gama alta, y BMW no es una excepción, es común el robo de interiores. Aunque no es un seguro infalible, durante un tiempo y hasta cierto punto, pondría las cosas mas complicadas a ladrones y maleantes. No obstante, hay un efecto secundario, y aunque no se ha especificado, queda claro que se trata de un objetivo mas o menos intencionado. Y es que tengamos que recurrir a talleres especializados o el servicio oficial para tareas que antes podríamos hacer con un juego de herramientas común.
Por supuesto que será cuestión de (pocos) meses que se pongan a la ventas juegos de herramientas compatibles con esta tornillería. Pero el «daño» ya estaría hecho…






