Hubo una época en la que uno optaba por hacer compras en tiendas físicas porque transmitían más confianza y era una forma de rápida de conseguir algo que necesitábamos. De un tiempo a esta parte todo ha cambiado. Y es normal ver cruzarse por la ciudad a cientos de repartidores que van a entregar pedidos. A veces no es fácil recibirlos si no pasamos tiempo en casa. Pero eso se acabaría con la nueva idea que tiene Honda para el futuro de los coches eléctricos. Básicamente, querría convertir tu coche en un buzón… o algo así.
Un cajón para entrega de paquetes en los coches eléctricos
La tendencia va camino de convertir a los coches en casa móviles. Las caravanas primero, las Volkswagen California después, y las campers ahora. Pero Honda quiere ir un paso más allá y poner un buzón en el coche. Aunque en realidad no se trata tanto de convertir el coche en una casa, sino de que el coche pueda ser un medio donde un cartero o un repartidor pueda dejar un paquete por correspondencia.
Ya hay lockers en muchas ciudades donde es posible que los repartidores dejen los paquetes y los compradores los recojan más tarde. Pero tener un buzón en el coche puede aportar muchas posibilidades. O al menos, eso cree Honda.
Una innovación de Honda, un tanto extraña
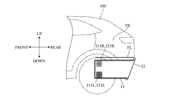
La propuesta de Honda para integrar espacio de almacenamiento adicional en los parachoques de vehículos eléctricos representa un enfoque innovador para abordar los desafíos actuales en la entrega de paquetes, y es solo una iteración más de la tendencia de la marca por innovar. La solicitud de patente, presentada ante la USPTO, y ya publicada, detalla un diseño ingenioso que transformaría los automóviles en auténticos «buzones móviles» mediante la incorporación de un cajón deslizable en el parachoques trasero.
Este cajón deslizable es un compartimento oculto diseñado para proporcionar un espacio seguro y conveniente para la entrega de paquetes. Su ubicación en el parachoques trasero no solo aprovecha un espacio previamente desaprovechado, sino que también garantiza un acceso rápido y sencillo para los repartidores y usuarios.
La seguridad es un aspecto fundamental de esta propuesta. Honda ha diseñado el compartimento de almacenamiento para que sea independiente del resto del vehículo, con su propio sistema de bloqueo y desbloqueo, de manera que el repartidor no pueda acceder al maletero ni al resto del coche.
Pensado para coches eléctricos
Honda ha considerado la importancia de la refrigeración en el almacenamiento de paquetes, especialmente en regiones con climas extremos. Por esta razón, el compartimento de almacenamiento en el parachoques trasero está equipado con su propio sistema de aire acondicionado, lo que garantiza que los paquetes permanezcan en condiciones óptimas incluso en días calurosos o fríos. A su vez, puede ser una buena opción cuando lo que compramos debe mantenerse a una temperatura concreta, como puede suceder por ejemplo con la comida para mascotas.
Es importante destacar que esta innovación se adapta especialmente a los vehículos eléctricos. Los diseños de la patente muestran que el espacio necesario para el compartimento de almacenamiento sería difícil de integrar en un vehículo con motor de combustión interna. Y a su vez, el uso de la energía para el aire acondicionado encaja más en un coche eléctrico donde la batería da energía sin necesidad de tener que mantener funcionando un motor de combustión.
En cualquier caso, no deja de ser una patente, una idea que quizás veamos aplicada en algunos modelos eléctricos de Honda en el futuro, pero que también podríamos no ver nunca en ningún coche que llegue a los concesionarios.





