Dodge está dispuesta a convencernos de que el salto al coche eléctrico no será tan dramático como aseguran los puristas. Para ello está preparando una máquina muy seria basada en el Dodge Charger Daytona SRT, pero que no sólo brillará en potencia y prestaciones, sino que misteriosamente también lo hará en sonido. Para conseguirlo se han sacado de la manga un comodín tan intrigante como desconcertante, un artilugio denominado como Fratzonic Chambered Exhaust que promete cambiar para siempre las sensaciones de conducir un coche eléctrico. Y hoy por fin sabemos cómo funciona con todo detalle.
Cuando en agosto de 2022 Dodge nos mostró por primera vez el nuevo Charger Daytona SRT Concept, no podemos negar el hecho de que tuvimos sentimientos encontrados con este prototipo y todo cuanto representa. Hablamos de una ventana al futuro, con un diseño realmente espectacular y casi 1.000 CV de potencia, pero evidenciando el fin de los Muscle Car tal y como los hemos conocido hasta la fecha.
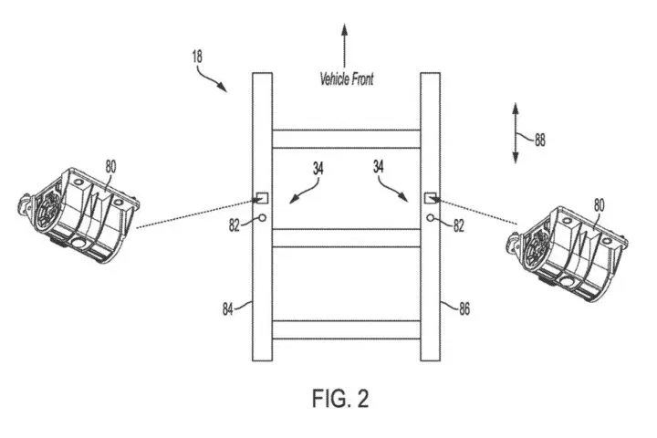
Sin embargo, para que esta transición no sea tan dolorosa, hiriente o impactante, los ingenieros de Dodge echaron a volar su imaginación para crear el sonido de escape que un eléctrico de esta guisa debería ofrecer. Fue bautizado como Fratzonic Chambered Exhaust y ahora por fin, a través de la oficina de patentes americana, podemos saber cómo funciona. Y no, no es un sistema como el del Abarth 500e, donde por un altavoz se escuchará la grabación de un escape de verdad…
El Fratzonic Chambered Exhaust creado por Dodge es un sistema mucho más complejo. Sí, la base sigue siendo el uso de 4 altavoces, dos para bajos y otros dos para medios, pero éstos están alojados en un receptáculo que se ha estudiado para conseguir generar un sonido que se vea afectado por las conducciones por las que tendrá que desplazarse, generando así un tono más natural y acompañándose de una vibración, además de la modificación del propio sonido en función de cómo se desplaza a través de las conducciones interiores de este equipo. Todo ello estará modulado en relación al modo de conducción, la velocidad, el uso del acelerador, etc. Pero hablamos de un sistema que no se limitará a generar o reproducir un sonido artificial, sino que lo proyectará para que efectivamente tengamos un escape, sin emisiones, pero sí con una melodía que Dodge promete que nos encantará.
Y no contentos con ellos, en Dodge complementarán el Fratzonic Chambered Exhaust con dos dispositivos encargados de generar vibraciones en el coche, emulando así los movimientos que ofrece una mecánica V8 convencional a la hora de acelerar, retener, etc. Esto pretende ser parte de la magia a la hora de conducir un Muscle Car eléctrico, pudiendo escuchar y sentir el coche como si estuviese «vivo», aunque todas esas sensaciones tengan en realidad un origen artificial.
Fuente: CarBuzz








